高耐蝕性のフッ素樹脂を生かした
「FPコイル」や
円筒タンクに最適な
「タンクコイル」を
製作/販売
しています

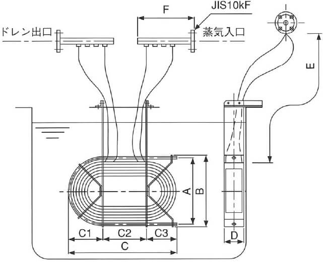
伝熱管に耐蝕性のあるフッ素樹脂(PFA)を使用した槽内浸漬式の耐蝕熱交換器です。
お客様の仕様に応じて最も効率的な伝熱面積を算出し、最適な形状と寸法で設計します。すべてオーダーメイドで製作します。
薬液による酸洗/メッキ/エッチングなどの金属表面処理用の熱交換器として、豊富な実績と高い評価を得ています。
内容液の純度や耐蝕性が要求される加熱/蒸発装置や冷却/圧縮装置などの熱交換器としても利用可能です。












フッ素樹脂(PTFE)製の枠組を含むコイル本体と、ヘッダーならびにブラケットで構成されます。
設計条件に応じてヘッダーやブラケットについても最適なものを採用します。
槽の開口面積を減らしたくない場合におすすめです。
タンクにおいて、浸漬物の投入時に生じる熱交換器の破損リスクを軽減するためのFPコイルカバーも製作しています。

耐蝕FRPタンクや高耐蝕クラッドタンクの内部にコイルを取付します。
コイルの材質はフッ素樹脂と耐蝕金属から対応可能です。


強アルカリ/フッ酸/熱塩酸などのFRPが使えない薬液を使用する場合でも、高耐蝕クラッドタンクとPFAチューブコイルの組合せによる高耐蝕性を活かし、厳しい条件での加温/冷却を可能としました。


高圧高温蒸気による加熱や高濃度スラリー液の加熱冷却をおこなう反応タンクに対応します。最適なタンク形状/タンクとの固定方法/撹拌機の選定など総合設計をおこないます。
SUS304/SUS316/SUS316L/チタンにて製作可能です。
耐蝕熱交換器だけでなく、タンク/周辺機器を含めたプラントエンジニアリングもお任せください